Product

61816

Articol
61816
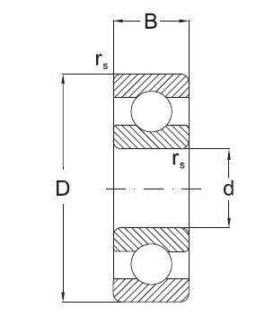
Dimensiuni
Brand
URB | SKF
Țara de origine
URB - România, SKF - Uniunea Europeană
Trimite solicitare
Specificații
Diametru interior
80 mm
Înalțimea
10 mm
Dinamic
12.9 KN
grease(min1)
6000
kg ()
0.16
Diametru exterior
100 mm
Static
13.7 KN
rs min. (mm)
0.6 mm
oil(min1)
7000