Product

7220 BMAP6DB

Articol
7220 BMAP6DB
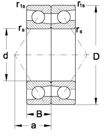
Dimensiuni
Brand
URB | SKF
Țara de origine
URB - România, SKF - Uniunea Europeană
Trimite solicitare
Specificații
Diametru interior
100 mm
Dinamic
208 KN
r1s min. (mm)
1.1
grease(min1)
3000
oil(min1)
6.903
Înalțimea
34 mm
Static
232 KN
a (mm)
76
"Y0 ()"
2200
rs min. (mm)
2.1 mm