Product

7215 BP6DB

Articol
7215 BP6DB
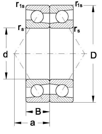
Dimensiuni
Brand
URB | SKF
Țara de origine
URB - România, SKF - Uniunea Europeană
Trimite solicitare
Specificații
Diametru interior
75 mm
Înalțimea
25 mm
Static
126 KN
"Y0 ()"
3200
a (mm)
56
oil(min1)
2.603
Diametru exterior
130 mm
Dinamic
121 KN
r1s min. (mm)
1
rs min. (mm)
1.5 mm
grease(min1)
4300