Product

7209 BP5DB

Articol
7209 BP5DB
Dimensiuni
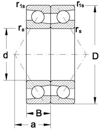
45x85x38 mm
Brand
URB | SKF
Țara de origine
URB - România, SKF - Uniunea Europeană
Trimite solicitare
Specificații