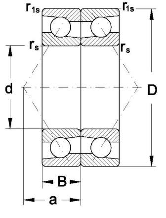
Product

7209 BDF

Articol
7209 BDF
Dimensiuni
45x85x19 mm
Brand
URB | SKF
Țara de origine
URB - România, SKF - Uniunea Europeană
Trimite solicitare
Specificații