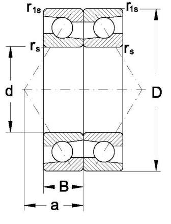
Product

7308 BTFT

Articol
7308 BTFT
Dimensiuni
40x90x23 mm
Brand
URB | SKF
Țara de origine
URB - România, SKF - Uniunea Europeană
Trimite solicitare
Specificații