Product

6212 MA

Артикул
6212 MA
Размеры
Бренд
URB | SKF
Страна бренда
УРБ - Румыния, СКФ — Евросоюз
Отправить заявку
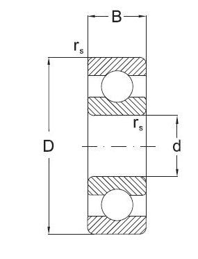
Технические характеристики
Внутренний диаметр
60 мм
Высота
22 мм
Динамическая
52.4 КН
grease(min1)
6000
kg ()
0.78
Внешний диаметр
110 мм
Статическая
36.3 КН
rs min. (mm)
1.5 мм
oil(min1)
7000