6210 NR
Артикул
6210 NR
Размеры
Бренд
Страна бренда
УРБ - Румыния, СКФ — Евросоюз
Отправить заявку
Технические характеристики
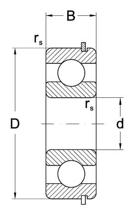
Внутренний диаметр
50 мм
Высота
20 мм
Динамическая
35.1 КН
grease(min1)
7000
kg ()
0.46
Внешний диаметр
90 мм
Статическая
23.2 КН
rs min. (mm)
1.1 мм
oil(min1)
8500