6203 TN
Артикул
6203 TN
Размеры
Бренд
Страна бренда
УРБ - Румыния, СКФ — Евросоюз
Отправить заявку
Технические характеристики
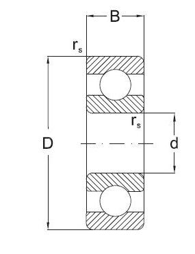
Внутренний диаметр
17 мм
Высота
12 мм
Статическая
4.8 КН
kg ()
0.07
oil(min1)
20000
Внешний диаметр
40 мм
Динамическая
9.6 КН
rs min. (mm)
0.6 мм
grease(min1)
17000
Industrie
Cimentului